ホーム
発明品のご紹介
発明品販売のご案内
発明仲間の発明品
発明愛好家の皆様へ
いろいろ
リンク集
プロフィル
ル
What`s New
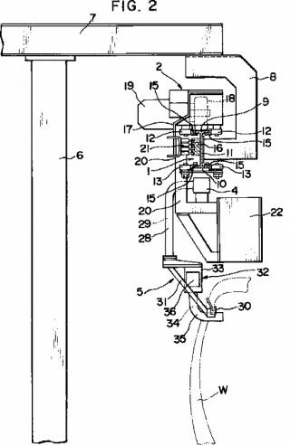
【
正面図】
ワークを吊下げて搬送する吊下げ式の電動台車です。シンプルイズザベストで2輪ボギーを1輪ボギー化し、市販品を有効活用して低コスト化を図っています。高速走行にもかかわらず外部に設けた位置決め機構により台車を精度よく停止させ、同時にハンガーにエアーを供給してワークを正確に固定します。そうすることにより、搬送途中で停止させて正確にワークを位置決めし、吊下げたままロボットでシラーを塗布するなどの加工ができます。
【
側面図
】
レールは市販のH型鋼を利用して初期投資をおさえています。
【
位置決め兼エアー供給機構】
位置決めと同時にクランプ用エアーを供給します。