ホーム  発明品のご紹介  発明品販売のご案内 発明仲間の発明品 発明愛好家の皆様へ
いろいろ  リンク集  プロフィルル  What`s New  
ボルト供給付ヘッド交換式多軸締付装置
 
全体図】
自動車のエンジンのケース類は多数本のボルトで結合されています。しかも機種によってボルトの種類や配置が異なります。近年の自動車生産はお客様のニーズに応え、いろいろな機種の車をジャストタイムで生産するようになりました。そのために開発された装置で、生産機種によりギャングヘッド(ボルトを締付ける工具とボルトを支えるキャッチャーを配置した箱)を交換して対応し、いろいろな種類のボルトを高速で切出して供給する装置で構成されています。
 
 
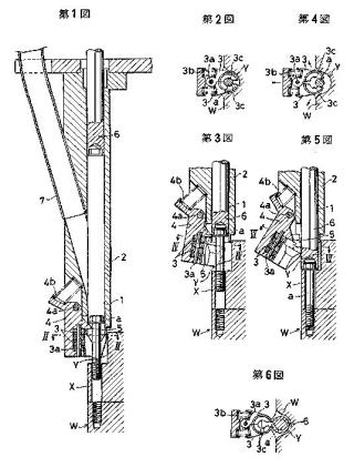
ボルトキャッチャー 

縦壁に囲まれた形状の孔にもボルトが供給できるように工夫されています。

ボルト切出し機構
カムを利用したメカ機構によりボルトの高速切出しを実現しました。

 BACKINDEXNEXT