ホーム
発明品のご紹介
発明品販売のご案内
発明仲間の発明品
発明愛好家の皆様へ
いろいろ
リンク集
プロフィル
ル
What`s New
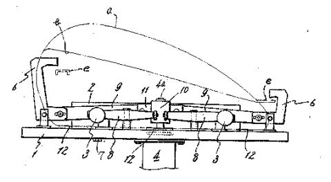
【
転写装置】
オートバイのタンクの表面にストライプや模様を多色印刷する機械です。色別に並んだ印刷機の間を転写版を搬送して多色印刷し、転写機に送り込んでタンクに圧接し転写します。模様が多様で面積が大きいほど威力を発揮します。
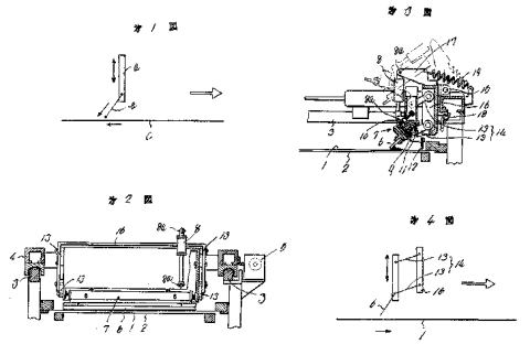
【
印刷物の位置決め装置】
転写版を正確に自動的に位置決めします。
【スクリーン印刷機におけるスキージ装置】
スキージーの押し付け角度を一定に保ち、印刷品質を安定させます。
【
ワークの位置決め装置】
ワークに製作誤差があっても支障なく安定した位置決めができます。