ホーム  発明品のご紹介  発明品販売のご案内 発明仲間の発明品 発明愛好家の皆様へ
いろいろ  リンク集  プロフィルル  What`s New  
 BACKINDEXNEXT
 
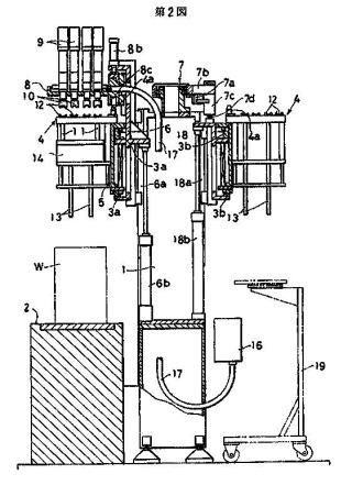
全体側面図】
自動車のエンジンのケース類は多数本のボルトで一定のトルクを保証して結合されています。しかも機種によってボルトの種類や配置が異なります。近年の自動車生産はお客様のニーズに応え、いろいろな機種の車をジャストタイムで生産するようになりました。そのために開発された装置で、生産機種によりギャングヘッド(ボルトを締付けるソケットを配置した箱)を交換して対応し、いろいろな種類のボルトを一定のトルクを保証して締付ける装置です。
 
 
ギャングヘッド 
高精度のトルクを保証するために高価な電動ナットランナーを使用していますが、電動ナットランナーは汎用の本機側に取付け、ギャングヘッドはソケットと伝動ギヤーだけにして専用投資を削減しているのが特徴です。
ヘッド交換式多軸締付装置