ホーム  発明品のご紹介  発明品販売のご案内 発明仲間の発明品 発明愛好家の皆様へ
いろいろ  リンク集  プロフィルル  What`s New  
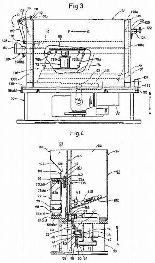
パーツフィーダー
 
 パーツフィーダー
直進フィーダ(ボルト類のパーツを振動で送る装置)とホッパー(パーツを貯蔵する装置)を並列に配置し、ホッパー内からパーツを払出す掻揚げ板を平行に上下させることにより、より少ないスペースで、より多く、より長いボルトの供給が可能になりました。
 BACKINDEXNEXT