ホーム  発明品のご紹介  発明品販売のご案内 発明仲間の発明品 発明愛好家の皆様へ
いろいろ  リンク集  プロフィルル  What`s New  
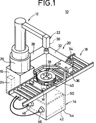
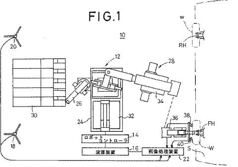
タイヤ自動取付マシン
 
平面レイアウト
自動車のタイヤを自動で取付けるマシンで、ロボットがタイヤを持ってカメラでハブの位置と傾きとボルトの位相を読取って取付けます。重たいタイヤの取付けは3K作業といって大変きつい作業ですが、このマシンの出現によって省人化がはかられました。
 
 
 
側面レイアウト】 
 車の種類・タイヤの種類にフレキシブルの対応できます。
 
 
【ハブボルト穴位置検出装置】 
 視覚センサーでタイヤのハブボルト穴の位置と位相を確認して配置を決めます。
 
 
 
ナット受け取り装置】
機種によるナットの配置の違いにロボットで対応します。

BACKINDEXNEXT